久久夜夜夜I中文字幕免费在线看I91传媒激情理伦片I色激情五月I玖玖玖在线观看I嫩小bbbb摸bbb摸bbbI91色影院I免费www视频

Previous Next

礦井提升機徑向液壓彈簧閘技術改造(中)(圖文)

時間:2024-04-23 08:09:21  點擊數:


2.2 具體方案
(1)受力平衡 保留舊制動系統受力平衡的優點。方法是:使提升機制動梁、基座和原閘系之間的距離滿足一定的關系。

(2)閘基座 保留原閘基座及地腳螺栓,不僅可以保證受力平衡,還可以減少安裝工作量,縮短工期。

(3)綜合閘 早期國產的 JKA 型提升機,舊角移式閘瓦存在磨損不均問題,其制動系統的改造采用綜合閘(見圖 1),以減少閘瓦磨損,延長閘瓦使用壽命。
 

圖1 JKA 系列提升機制動系統示意

(4)提高使用可靠性 改造后的閘系結構中,液壓元件應盡量遠離閘面,以減少或消除液壓油污染閘面的概率。方法是:保留二級杠桿傳動,使徑向液壓彈簧閘更便于參與工作制動,提高制動器的使用可靠性。

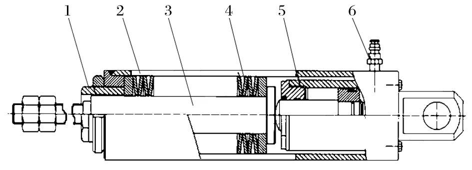
(5)驅動器結構集成化 改造時采用碟形彈簧串聯結構(見圖 2)。碟簧串和千斤頂置于一個套筒內,液壓彈簧驅動器成為一個整體結構(相當于盤式閘的閘頭)。該結構更加簡單,便于安裝、調試與維護,易于實現標準化、集成化、系列化。
 
圖2 液壓彈簧驅動器結構示意
1.螺紋內套筒 2.外套筒 3.驅動器拉桿 4.碟形彈簧 5.千斤頂 6.管接頭

(6)動態監控 在驅動器套筒兩側開有窗口,便于司機或工作人員隨時監控和調整,提高制動系統的使用可靠性。

(7)底拉桿 利用圖解法分別求解原角移式閘系和改造后的徑向液壓彈簧閘系的受力情況,分析后發現徑向液壓彈簧閘支座反力的水平分力大于原角移式閘。為克服這一現象,改造時在兩側閘梁底座銷軸之間增加了可調的水平底拉桿(見圖 3),以減小水平分力。
 
圖3 徑向液壓彈簧閘底拉桿示意